政府信息公开
1144160200726034XD/2022-00040
河源市源城区民政局
2022-06-24
源城区2022年6月残疾人“两项”补贴名单公示
2022-06-24

源城区2022年6月残疾人“两项”补贴名单公示

发布日期:2022-06-24  浏览次数:-

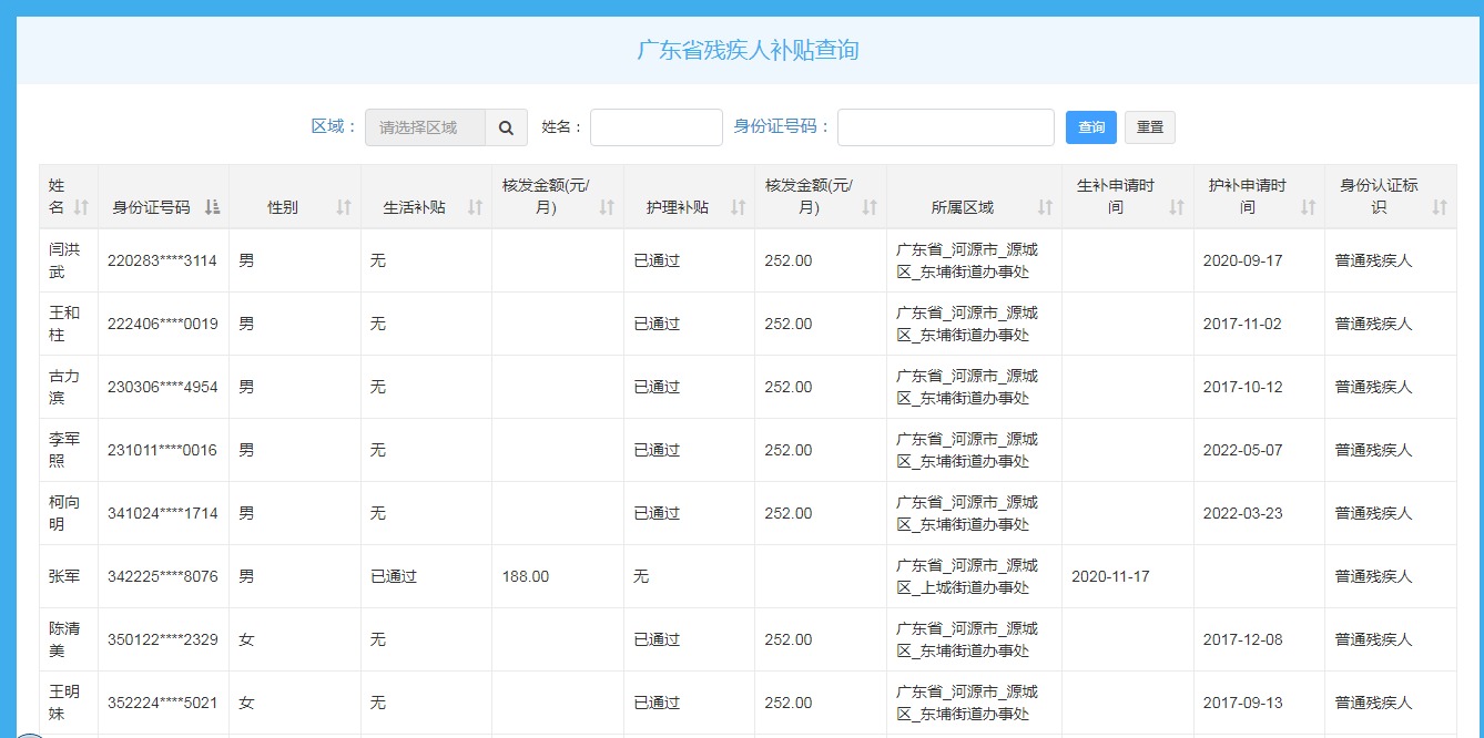
       审定残疾人对象享受两项补贴名单,现向社会公示如下:

残疾人两项补贴6月.png

       附:源城区残疾人2022年6月享受残疾人两项补贴名单生成链接网址

https://210.76.73.23/GDSCJRBT/control/publicmessage/publicMessageFruiting?dpid=4a28d400efe24b319d94e01a5a569e3c